Кабель-канал ККР 3-12

Кабель-канал ККР 3-12

Категория: Кабель-каналы (кабельные мосты)
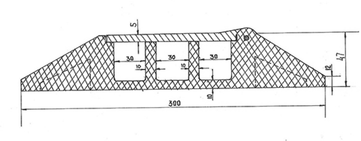
Кабель-канал резиновый ККР 3-12 - формовое изделие из резины. 3 канала, нагрузка до 12 т. Сверху – откидывающаяся крышка из эластичного пластика. Всё изделие покрыто округлыми неровностями, для большего препятствия скольжению. На концах предусмотрены соединители типа «пазл». Необходимая длина кабель-канала набирается путем соединения нужного количества элементов.
Вы можете купить "Кабель-канал ККР 3-12" в Минске, оформив заказ нажав ниже кнопку "Заказать"
Стоимость товара:
По запросу
Преимущества и технологии
  • Выдерживает до 12 тонн нагрузки 
  • Удобная сборная конструкция с замком типа «пазл» 
  • Желаемая длина кабель-канала достигается путём соединения элементов друг с другом 
  • Подходит для кабелей/ шлангов/ проводов с сечением 32х30-32 мм и меньше 
  • Обеспечивает защиту высоковольтных проводов от повреждений 
  • Устойчив к механическим повреждениям 
  • Служит для защиты здоровья и жизни людей на объекте 
  • Выдерживает температуру от – 50С до +60С и резкие температурные перепады 
  • Имеет эстетичный внешний вид
Применение и назначение
  • Применяется для защиты проводов, кабелей, шлангов при проведении монтажных, ремонтных работ, массовых мероприятий (концертов выставок, демонстраций).
Укладывается на асфальт или на пол. Элементы соединяются между собой с помощью соединения типа "пазл". Конструкция устойчива за счет своей массы. При необходимости можно применить анкерное крепление.


НАГЛЯДНОЕ НАЗНАЧЕНИЕ И ИСПОЛЬЗОВАНИЕ КАБЕЛЬ-КАНАЛОВ НИЖЕ:

Основные характеристики
Материал
Резина
Длина
900 мм
Ширина
300 мм
Высота
45 мм
Температура эксплуатации
-50 С до +60 С
Масса
9,5 кг
Количество каналов
3 шт
Допустимая нагрузка
12 т
Крышка
Эластичный желтый пластик
Корпус
Резина
Высота канала
32 мм
Ширина канала у основания
30 мм
Ширина канала сверху
32 мм
Документация и инструкции
Похожие товары